Patents
Current Patents or Patents Pending

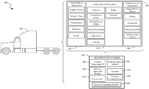
A sensor failure detection system receives sensor data from sensors associated with an autonomous vehicle. For evaluating a first sensor, the system compares the first sensor data captured by the first sensor to each of map data and other sensor data captured by other sensors. If it is determined that the first sensor fails to detect object(s) that are confirmed to be on the road by the map data and the other sensor data, the system determines that the first sensor fails to detect the object(s) and is not reliable. In response, the system may determine whether the autonomous vehicle can be navigated safely without relying on the first sensor. If it is determined that the autonomous vehicle can be navigated safely without relying on the first sensor, the system may continue autonomous navigation of the autonomous vehicle.
A method of operating an autonomous vehicle, comprising activating, by a processor on the autonomous vehicle, a first set of lights in response to determining that the autonomous vehicle has come to a stop due to a critical situation, wherein the first set of lights have an illumination intensity brighter than a second set of lights used in a non-critical situation, wherein the first set of lights form a pattern indicative of a size of the autonomous vehicle wherein the first set of lights are disposed on a base that is detachable from the autonomous vehicle.

